Торгово-производственная фирма ООО "АЛЬЯНСХЕМ"

  Поставка промышленного оборудования для обработки дерева, стекла, камня, металла.  

    Деревообрабатывающий инструмент     Деревообрабатывающий станок     Котел     Деревообрабатывающее оборудование

  Широкий выбор станков, инструмента. Доступные цены. Звоните по тел (948) 546-11-72.  

Главная

Оборудование

Инструмент

Прайс

О фирме





СТАНОК  ЧАШКОРЕЗНЫЙ

мод.  «ЧС-400У».


НАЗНАЧЕНИЕ:

     Предназначен для работы в комплекте с оцилиндровочными станками и служит для вырезки монтажных чашек диаметром до 400 мм под углом 90 - 135 градусов к оси бревна.


ОБЛАСТЬ ПРИМЕНЕНИЯ:

     Применяется в деревянном домостроении.


ОПИСАНИЕ СТАНКА:

     Данный станок обладает уникальными возможностями. Открытая конструкция позволяет настроить станок под любую конфигурацию изделий и устанавливать дополнительное оборудование, например, узел для сверления нагелей. Станок позволяет обрабатывать два  бревна (диаметром до 200мм) за один рабочий цикл фрезерного узла. Выборка чашки  осуществляется под произвольными углами к оси бревна. Положение и угол наклона чашек определяется ориентацией обрабатываемой заготовки относительно фрезерного узла. Перемещаемый торцовочный узел позволяет совместить операции выборки чашки и торцовки. Торцовка может быть осуществлена под произвольным углом к оси бревна (используется при изготовлении декоративных конструкций). 



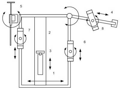
СХЕМА ОБРАБОТКИ



ПРИНЦИП ДЕЙСТВИЯ:

     Чашка в бревне вырезается при поступательном перемещении фрезерного узла (1) по направляющим (2). Диаметр чашки соответствуют диаметру используемой фрезы (3).Чашка вырезается за один проход фрезы.  На станине станка установлены фиксаторы (6, 7, 8) которые могут перемещаться по станине и имеют ось вращения, что позволяет фиксировать бревно в самых различных положениях. Дополнительная опора (4) с фиксатором (8) расширяет возможности станка и позволяет, например, не перенастраивать станок при переходе с «правой» на «левую» чашку при изготовлении эркерного сруба. Комплектация станка узлом торцовки позволяет торцевать бревна с высокой точностью на любом расстоянии от чашки под произвольными углами к оси бревна.


ТЕХНИЧЕСКАЯ ХАРАКТЕРИСТИКА

Длина обрабатываемого бревна (min), мм

1000

Диаметр обрабатываемого бревна, мм

120 – 400

Мощность привода поперечной подачи, кВт

0,55

Угол поворота бревна,  град

90 - 135

Мощность электродвигателя, кВт

5,5

Габариты станка, мм

4150х2280х1465

Масса, кг

1 200


ОПЦИИ:

Станок может комплектоваться как цепной, так и дисковой торцовкой маятникового типа.

Станок может быть дополнительно оборудован устройством для сверления нагелей.






Рамные пилорамы - Ленточные пилорамы - Бревнопильные - Окорочные - Оцилиндровочные - Горбыльно-ребровые - Бревнотаски - Ленточно-делительные - Многопильные - Кромкообрезные - Торцовочные - Сушильные камеры - Влагомеры - Котлы на отходах - Для постформинга - Четырехсторонние - Паркетные - Круглопильные - Фуговальные - Фуговально-рейсмусовые - Рейсмусовые - Фрезерные станки - Копировальные - Автоподатчики - Шипорезные - Копировально-фрезерные - Для багета - Компрессорные - Для палочек для еды - Оконные центры - Бытовые - Комбинированные - Ленточно-пильные - Пазовально-сверлильные - Долбежно-цепные - Для шкантов - Круглопалочные - Токарные - Форматно-раскроечные - Кромкооблицовочные - Присадочно-сверлильные - Шлифовальные - Калибровально-шлифовальные - Клеенаносящие - Обрабатывающие центры - Прессы для облицовывания - Вакуумные прессы - Прессы для сращивания - Ваймы и пресса для щитов и окон - Прессы для склеивания бруса - Упаковочные - Дробилки - Прессы для брикетирования - Пылесосы - Покрасочные камеры - Заточные - Вальцовочные - Для формирования зубьев - Для сварки ленточных пил - Печь для углевыжигания - Дровокольные - Для стульев - Для шпона - Для домостроения - Лазерные - Комплексы для лесопиления - Рубительные - Стеклообрабатывающие - Для мягкой мебели - Для импрегнации изделий из древесины - Для искусственного старения - Камнеобрабатывающие - Для поддонов - Абразивно-отрезные - Вертикально-сверлильные - Вертикально-фрезерные - Гильотины - Горизонтально-фрезерные - Строгальные и долбежные - Заточные - Круглошлифовальные - Ленточнопильные - Листогибочные - Настольно-сверлильные - Настольно-токарные - Плоскошлифовальные - Прессы - Радиально-сверлильные - Ручные гильотины - Сверлильно-фрезерные - Специализированные - Токарно-винторезные - Токарные станки с ЧПУ - Точильно-шлифовальные - Трубонарезные - Широкоуниверсально-фрезерные - Станки АЛЬЯНСХЕМ - Печи - Транспортеры






© 2009 - 2016  ООО "АЛЬЯНСХЕМ".  Все права защищены.